КамАЗ-5320, КамАЗ-53212, КамАЗ-5410, КамАЗ-54112, КамАЗ-5511 | |
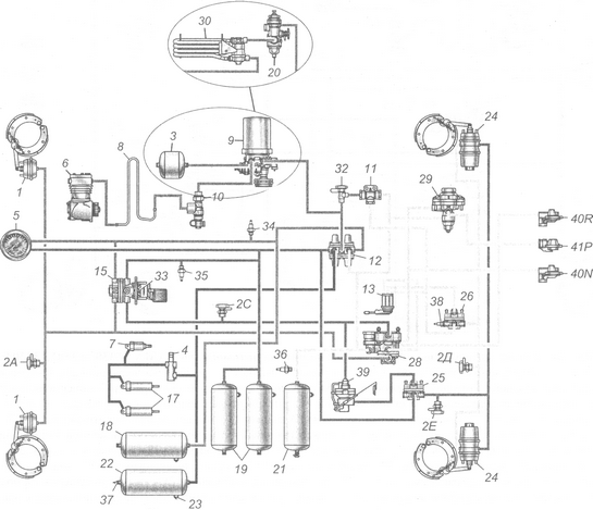
Тормозные механизмы рабочего тормоза | Барабанного типа с двумя внутренними колодками |
Диаметр тормозных барабанов, мм | 400 |
Ширина накладок, мм. | 140 |
Суммарная площадь тормозных накладок, см2 | 6 300 |
Разжимной механизм | S-образный кулак |
Длина регулировочного рычага, мм: передней оси | 125 125 125 125 125 |
задней тележки | 125 150 125 150 150 |
Привод тормозных механизмов рабочего тормоза. | Пневматический, двухконтурный, с раздельным торможением колес передней оси и колес задней тележки |
Управление тормозными механизмами рабочего тормоза. | Ножной педалью, связанной рычагами и тягами с двухсекционным тормозным краном |
Тормозные камеры: передней оси | Тип 24, диафрагменные |
задней тележки. | Тип 20/20, диафрагменные, в одном агрегате с пружинными энергоаккумуляторами поршневого типа |
Стояночный тормоз. | Функцию стояночного тормоза выполняют тормозные механизмы колес задней тележки |
Привод стояночного тормоза | Механический, от пружинных энергоаккумуляторов |
Управление стояночным тормозом | Дистанционное, ручным пневматическим краном обратного действия и кнопочным краном для аварийного выключения стояночного тормоза |
Вспомогательный тормоз | Газодинамический, компрессионного типа |
Привод вспомогательного тормоза | Пневматический, от пневматических цилиндров |
Управление вспомогательным тормозом | Дистанционное, ножным кнопочным краном |
Запасной тормоз | Функцию запасного тормоза выполняют тормозные механизмы колес задней тележки |
Управление запасным тормозом | Краном управления стояночного тормоза |
Компрессор | Одноступенчатый, двухцилиндровый, поршневого типа |
Номинальное давление, кгс/см2 | 7,0 |
Производительность компрессора при частоте вращения 2000 об/мин и противодавлении 7 кгс/см2, л/мин. | 220 |
Привод компрессора | Шестеренчатый, от распределительных шестерен, передаточное число 0,94 |
Регулятор давления. | Поршневого типа, с разгрузочным и следящим устройством, а также с устройством для выбрасывания в атмосферу скопившегося конденсата. Имеется специальный вывод для присоединения различных устройств |
Давление открытия и закрытия разгрузочного клапана регулятора давления, кгс/см2: открытия | 7,0 – 7,5 |
закрытия | 6,2 – 6,5 |
Предохранитель против замерзания | Спиртовой, при включении испаряет спирт в тормозную магистраль |
Защитные клапаны: тройной | Диафрагменного типа |
двойной | Золотникового типа |
одинарный | Диафрагменного типа с обратным клапаном |
Воздушные баллоны | Пять, общей емкостью 140 л |
Кран слива конденсата | Клапанного типа, с возвратной пружиной |
Кран управления рабочим тормозом | Двухсекционный, с последовательным соединением секции (тандем). Управление II секцией пневматическое или механическое при повреждении контура 1 секции |
Кран управления стояночным и запасным тормозом. | Обратного действия, клапанного типа, со следящим устройством |
Кран управления вспомогательным тормозом | Кнопочный, клапанного типа |
Кран аварийного растормаживания стояла ночного тормоза | Аналогичен крану управления вспомогательным тормозом |
Двухмагистральный перепускной клапан | Мембранного типа |
Клапан ограничения давления | Поршневого типа |
Ускорительный клапан | То же |
Автоматический регулятор тормозных сил | Рычажный, диафрагменного типа, со следящим устройством поршневого типа |
Клапан управления тормозами прицепа с двухпроводным приводом (кроме мод. | Поршневого типа, с несколькими следящими устройствами |
Клапан управления тормозами прицепа с однопроводным приводом (кроме мод. 5511). | Диафрагменно-поршневого типа, с пневматической камерой следящего устройства |
Соединительные головки (кроме мод. 5511) | Три: одна — типа А, ГОСТ 4365—67, две — типа «Палм» |
Шланг тормозной прицепа КамАЗ, МАЗ L=3,5м (г-ш) ДК 5410-3506342-03
- Главная
- Все запчасти тормозной системы org/ListItem»> 5410-3506342-03 ДК
- Производитель
-
ДК - Каталожный номер
- 5410-3506342-03
Применяемость: КамАЗ, 35.
Тормоза
- Доставка по Украине
— на отделение Новой Почты или курьером до двери
— самовывоз в Днепр
подробнее → - Оплата при получении
или другим удобным способом, подробнее → -
Гарантия
обмен/возврат товара в течение 14 дней, подробнее →
Применяемость
- Товар подходит к маркам/моделям авто :
- — Грузовые авто: КамАЗ, МАЗ
- Товарная группа:
- — Тормоза Все запчасти тормозной системы
- — Тормоза Шланги, трубки и прочее
Bremse — Knorr-Bremse и КАМАЗ подписали соглашение о производстве тормозных систем для коммерческих автомобилей в России
- Gruppo
- Вейколи Ферровиари
- Вейколи Коммерциали
- Ответственность
- Карьера
- Штамп
- Приобретение
Knorr-Bremse и КАМАЗ подписали соглашение о производстве тормозных систем для коммерческих автомобилей в России
05 декабря 2007 г.
[Группа Кнорр-Бремзе]
Вчера вечером Кнорр-Бремзе и КАМАЗ, крупнейший российский производитель грузовых автомобилей, подписали соглашение о создании совместного предприятия по производству комплектных тормозных систем для грузовых автомобилей на российском рынке. По условиям соглашения, КАМАЗ включит существующее производство барабанных тормозов в состав новой компании, а Knorr-Bremse создаст на площадке КАМАЗа производство дисковых тормозов, гасителей крутильных колебаний и других компонентов. Оба партнера будут владеть 50% долей в совместном предприятии, а Knorr-Bremse будет отвечать за промышленное управление.
На церемонии подписания в Казани, столице Республики Татарстан, которая состоялась в присутствии президента Минимера Шаймиева, генеральный директор КАМАЗа Сергей Александрович Когогин заявил: «Мы нашли идеального партнера для области тормозных систем в Knorr-Bremse – обе компании идеально дополняют друг друга».
Хайнц Герман Тиле, владелец компании и председатель наблюдательного совета Knorr-Bremse, также подчеркнул: «В этом совместном предприятии мы объединяем в сильную команду компетенцию КАМАЗ как ведущего производителя коммерческих автомобилей в Российской Федерации с компетенцией Кнорр-Бремзе как ведущего производителя технологически сложных тормозных систем».
Д-р Раймунд Клинкнер, председатель правления Knorr-Bremse, прокомментировал: «Для Knorr-Bremse сотрудничество с КАМАЗом представляет собой важный стратегический шаг и расширение наших позиций на быстрорастущем российском рынке грузовых автомобилей. достичь значительной доли наших продаж в России в течение следующих нескольких лет».
Новое совместное предприятие будет эксклюзивно оснащать все грузовики КАМАЗ, а также будет поставлять продукцию другим производителям коммерческого транспорта в России и соседних странах. Базируется в Набережных Челнах, Восточный Татарстан, Расположенный примерно в 1000 км к востоку от Москвы, КАМАЗ является крупнейшим производителем грузовых автомобилей в странах СНГ и демонстрирует двузначный рост продаж в производстве грузовых автомобилей.К концу года компания выпустит в общей сложности 55 000 большегрузных автомобилей, особенно трехосных транспортных средств, в течение 2007 г.
Группа Knorr-Bremse — ведущий мировой производитель тормозных систем для рельсового и грузового транспорта.
Вот уже более 100 лет компания является пионером в разработке, производстве и маркетинге современных тормозных систем. Другие направления бизнеса включают автоматические дверные системы, системы кондиционирования воздуха для железнодорожных транспортных средств и гасители крутильных колебаний для двигателей внутреннего сгорания. В 2006 году объем продаж Группы составил 3,1 миллиарда евро, а штат сотрудников составил 13 000 человек.
Для получения дополнительной информации и фотографий церемонии подписания, пожалуйста, свяжитесь с соседним контактным лицом.
Поделиться Штамповая версия
© 2023 Knorr-Bremse AG|www.knorr-bremse.it
N. partita IVA | Общая информация | Примечание юридические | Protezione dei dati
ПЕРВЫЙ КАМАЗ 47
Ровно 47 лет назад, 16 февраля 1976 года, с главного конвейера завода по сборке грузовиков сошел первый грузовик КАМАЗ.
Строительство нового завода в Набережных Челнах началось 13 декабря 1969 года.
Камский автогигант был построен в рекордно короткие сроки. И уже 16 февраля 1976 года с главного конвейера завода по сборке грузовиков сошел первый грузовик КАМАЗ-5320. Его выпуск был приурочен к XXV съезду КПСС. И в знак успешной реализации планов партии на Красную площадь в Москве своим ходом прибыл первый грузовик. Водитель-испытатель Валерий Перетолчин управлял грузовиком с серийным номером 0000001.
Первенец КАМАЗа долгие годы эксплуатировался в Башкортостане, затем был выкуплен, отреставрирован и сейчас является ценным музейным экспонатом автогиганта.
С 1976 по 1978 год автосборочный завод выпускал три основные модели: автомобиль КАМАЗ-5320 грузоподъемностью 8 тонн, строительный самосвал КАМАЗ-5511 грузоподъемностью 10 тонн и седельный тягач КАМАЗ-5410 с грузоподъемностью 10 тонн. полная масса 26 тонн. Затем был разработан 10-тонный грузовик КАМАЗ-53212 с увеличенной до 369 колесной базой.0 мм, 7-тонный сельскохозяйственный самосвал КАМАЗ-55102, а также седельный тягач для 33-тонного автопоезда КАМАЗ-54112.
При этом темпы роста производства на КАМАЗе были рекордными: уже в июне 1979 года с главного конвейера сошел стотысячный грузовик. К апрелю 1980 года было выпущено уже 150 тысяч большегрузных автомобилей. Рост производства на КАМАЗе был беспрецедентным для СССР и бил мировые рекорды. Примечательно, что первое поколение грузовиков пользовалось спросом у потребителей еще много лет: модели на базе КАМАЗ-5320 сошли с конвейера только в 2000 году.
На сегодняшний день компания уже выпустила более 2 миллионов 400 тысяч автомобилей. Продуктовый портфель КАМАЗа включает более 60 базовых моделей и 1500 комплектаций автомобилей. При этом инженеры Научно-технического центра компании не останавливаются на достигнутом и продолжают разрабатывать инновационные виды транспортных средств. Так, ранее компания представила грузовик шестого поколения КАМАЗ-54907 (Континент), самоходный самосвал КАМАЗ-6559 Юпитер 30, грузовик на водородных топливных элементах КАМАЗ-629.0, бортовой электромусоровоз КАМАЗ-53199 Чистогор и другие высокотехнологичные новинки.



5511).