инженерное решение на все времена
Водонапорные башни встречаются повсеместно: в загородных посёлках, деревнях, на фермах, в тепличных хозяйствах, на территориях небольших предприятий. Что же представляют собой эти сооружения, для чего они нужны и как работают?
Содержание
- Что такое водонапорная башня
- Устройство и назначение
- Основные функции водонапорной башни
- Разновидности водонапорных башень
- Принцип работы
- Сфера применения
Что такое водонапорная башня
Водонапорная башня представляет собой гидротехническое сооружение, основное назначение которого — хранение и подача воды. Конструктивно представляет собой резервуар (как правило, цилиндрической формы), который установлен на определённой высоте от поверхности земли; насосное оборудование; трубопроводы. Объём резервуара рассчитывается исходя из величины мощности водопровода и расхода воды.
Первые водонапорные башни были возведены несколько столетий назад.
В России едва ли не единственным заказчиком строительства водонапорных башен в течение длительного времени являлась железная дорога, нуждавшаяся в объёмных резервуарах, где можно было бы накапливать запасы воды для «заправки» паровозов. До сих пор на многих станциях сегодня можно увидеть старые кирпичные башни, сохранившиеся ещё с 19 века.
Картина изменилась с 1951 года, когда началось массовое возведение водонапорных башен в сельской местности, где, собственно, и по сей день находится большинство таких сооружений. Речь идет о так называемых башнях Рожновского, конструкция которых была разработана инженером А.А. Рожновским в далёком 1936 году.
Это было революционное техническое решение. Унифицированные экономичные металлические башни, которые монтируются всего за 2 — 4 дня, выполняют свои функции без необходимости зимнего подогрева воды. На основе конструктивных решений Рожновского построено большинство водонапорных башень на территории нашей страны. Следует добавить, что значительный вклад в их разработку внёс также инженер П.
И. Земсков.
Водонапорные башни расположены по всему миру. Отличаясь конструктивными элементами, размерами и рабочими характеристиками, они, тем не менее, очень схожи по устройству и имеют одни и те же функции. Об этом — далее
Устройство и назначение
Основные функции водонапорной башни
Водонапорная башня предназначена для обеспечения регулирования расхода и напора воды в сети водопровода в автономном режиме. Достаточно простой физический принцип работы определил развитие и широкое распространение этого вида гидротехнических сооружений.
Водонапорная башня осуществляет следующие функции:
- обеспечение поступления воды потребителям;
- равномерное распределение подачи воды при одновременном включении большого числа водопотребителей выполнение функции резервного источника водообеспечения.
Разновидности водонапорных башень
- Башни кирпичной кладки (устаревший метод).
- Железобетонные.
- Резервуары на гиперболоидных опорах.

- Бак на рамных стальных каркасах.
- Стальные резервуары переменного сечения (башни Рожновского).
- Индивидуальные резервуары.
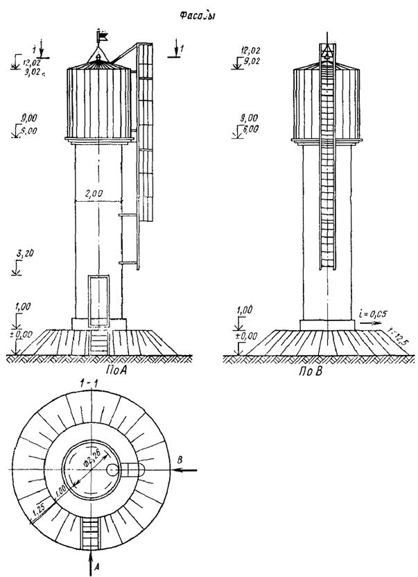
Все водонапорные сооружения имеют одинаковый набор основных элементов, который может варьироваться в зависимости от времени постройки, требуемой производительности, уровня грунтовых вод, воды, рельефа окружающей местности. Тем не менее, существует определённый ряд обязательных конструктивных элементов, объединяющих все виды этих уникальных инженерных сооружений:
- Резервуар (бак) объёмом от десятков до тысяч кубических метров. Выполняется из стали, бетона, пластика, других антикоррозионных материалов. Устанавливается на высоте из расчёта превышения уровня дна резервуара высоты наивысшей точки потребления.
- Опора резервуара, составляющая основное «тело» башни высотой до 25 — 30 метров. Представляет собой монолитную или рамную конструкцию из стальных балок, железобетона или кирпича.
- Вертикальный трубопровод (подводящая и отводящая линии).
Подводящий трубопровод, питающий бак водой, монтируется от насосов под наружную верхнюю крышку резервуара. Отводящая линия (трубопровод диаметром от 200 мм) подключается к системе водоразбора. - Вентиляционный люк. Располагается в верхней части резервуара и предназначен для поддержания давления во время прекращения подачи воды.
- Насосное оборудование. Размещается в отдельно стоящем сооружении, построенном над источником водоснабжения. Оснащается системой управления, которая периодически включает насосы на подкачку воды в случае падения её уровня.
- Система фильтрации.
Принцип работы
В основе принципа функционирование водонапорной башни — закон сообщающихся сосудов. Под собственным весом вода из резервуара вытесняется в отводную трубу до момента выравнивания значений давления в резервуаре и давления в трубопроводах водопроводной сети потребителей. Итак, башня работает следующим образом:
- вода из источника водоснабжения насосами подаётся по трубопроводу в накопительный бак;
- из бака вода под напором, создаваемым перепадом высоты расположения резервуара и и уровня прокладки водопровода, поступает в сеть водоснабжения;
- при небольшом расходе резервуар в течение определённого времен заполняется поступающей водой, и, после достижения определённого уровня, насосы по сигналу специального датчика отключаются.
Далее, по мере расхода потребителями уровень воды за счёт гидростатического давления понижается, и, по достижении определённого значения происходит срабатывание датчика, насосы включаются, и цикл повторяется.
В случае выхода из строя насоса или при внезапном отключении электричества оставшаяся в резервуаре вода продолжает бесперебойно поступать к точкам потребления в объёме, который зависит от размеров накопительного бака и минимального уровня его заполнения.
Сфера применения
Гидротехнические башни устанавливают, как правило, в локальных водопроводных системах, чаще всего в небольших населённых пунктах и на сельскохозяйственных объектах. Эти сооружения экономичны, они специально предназначены для работы в условиях ограниченных энергоресурсов и незаменимы в сфере своего применения.
Водонапорная башня, создание которой вошло в историю в качестве достаточно яркого примера изящных в своей простоте инженерных решений, в наши дни остаётся вполне актуальным, более того, необходимым, элементом водопроводной инфраструктуры.
Блог инженера теплоэнергетика | Водонапорная башня
Водонапорная башня – это гидротехническое сооружение, предназначенное для перекачивания и хранения воды. Существуют различные модификации и конструкции данного объекта, но всегда предполагается наличие объемного резервуара, монтированного на высоте, достаточной для эффективной прокачки всей системы подачи воды. Ключевой принцип работы – это передача жидкости от башни к потребителю в соответствие с законом сообщающихся сосудов.
Прототипы, являющиеся прообразом современных водонапорных конструкций, известны с древности, но сооружения остаются актуальны и по сей день. Особенно в них нуждаются территории с ограниченным доступом к энергетическим ресурсам, например деревни, села, поселки.
Функционал и конструкционные разновидности водонапорных башен В соответствии с упомянутым ранее главным законом гидростатики жидкость заполняет все сообщающиеся сосуды в системе, занимая при этом одинаковый уровень (высоту).
Соответственно, объекты, объединенные с водонапорной вышкой одним трубопроводом, считаются теми самыми сосудами. Чтобы в трубах поддерживалось необходимое давление, нужно обеспечить разницу высот этих сосудов. Правильное расположение ёмкости с водой предполагает высоту большую, чем у самой верхней точки расположения потребителя (последний этаж самого высокого дома).
Соответственно, перед конструкторами стояла задача – установить резервуар башни на высоте, достаточной для эффективного функционирования системы водоснабжения. Расхождение во мнениях привело к тому, что сегодня известно множество инженерно-технических вариаций водонапорных башен.
В числе наиболее распространенных:
1. Кирпичная кладка (устаревший способ возведения). В этом случае элементы башни выкладываются из кирпича.
2. Железобетонная. Использование ЖБИ позволяло создать качественные сооружения, традиционные для СССР, что могли содержать в резервуарах до 150 кубов воды.
3. На гиперболоидных опорах. Этот вид инженерных опор изобрёл русский специалист В.Г. Шухов. С конструкторской точки зрения сооружения данного типа сверхнадежны, а с дизайнерской – оригинальны (имеют определенную художественную ценность). Сам архитектор реализовал примерно 200 проектов данного типа. Сегодня метод все также актуален при возведении самых высоких построек.
4. На рамном каркасе из стали. Наиболее простые с точки зрения реализации проекты. При разработке таких сооружений могут быть выбраны любые конструкционные формы каркаса. Также возможно создание разборных опор.
5. Стальной бак переменного сечения. Два цилиндрических резервуара соединяются между собой, располагаясь на одной оси. Такую водонапорную башню называют еще башней Рожновского. Узкая труба играет роль опоры. В таком виде башня напоминает своей формой гранату старого образца (с ручкой). Подобные конструкции быстро изготавливаются и монтируются. Единственной проблемой является сложность транспортировки крупногабаритных элементов.
6. Различные индивидуальные резервуары. Речь идёт о проектах, разработанных и реализованных любым другим способом, вплоть до частных конструкций (резервуар для одного дома), но обязательно соответствующего нормативно-техническим требованиям, выдвигаемым относительно водонапорных башен.
Структура проекта водонапорной башниНезависимо от способа возведения, башни имеют схожий набор функциональных элементов. Большее или меньшее их число, а также современность этих частей зависят от года возведения, качественного уровня подаваемой жидкости, высоты залегания грунтовых вод и т.д. В базовый набор узловых составляющих водонапорной башни входят:
1. Резервуар. Ёмкость, дно которой находится над самой высокой точкой забора воды. Она обязательно создаётся из материалов, устойчивых к постоянному воздействию воды и различных негативных природных факторов.
2. Опорная конструкция. Башня без опоры существовать не может.
На архитектора возлагается задача по созданию надежной и внешне привлекательной опоры, в частности, когда речь идёт об установке башни в черте города наряду с другими архитектурными объектами. В советское время пришли к мысли о том, как легко и оригинально совместить сразу две функции – использовали стальную трубопроводную часть в качестве опоры.
3. Трубопровод(ы). Любой резервуар должен заполняться перед подачей воды в систему, а потому в конструкции башни присутствует два трубопровода. Подающая линия подводится от насосов через крышку ёмкости, а распределительная находится в нижней части резервуара и подключается к водоразбору. Напорная труба, отводящая воду, должна иметь большой диаметр (не менее 20 см).
4. Вентиляционный люк или шахта. В нижней части резервуара делают вентиляционный блок, за счет которого будет выравниваться давление внутри и снаружи.
5. Насосная станция. Это отдельная от водонапорной башни постройка, возводимая поверх скважины.
За счет установленных под землёй насосов и прочего оборудования (системы и датчики, позволяющие автоматизировать рабочий процесс) подающий трубопровод эффективно перекачивает воду, заполняя резервуар до нужного (предельного) уровня.
6. Фильтрационные элементы. Распределение воды, особенно питьевой, без использования фильтров попросту недопустимо.
Функциональная значимость водонапорной башниЗачастую при установке водонапорных башен речь идёт о поднятии на высоту воды в объеме от 50 кубов. Потребителей у этого ресурса много и расходование осуществляется неравномерно. Классическая функция при этом может заключаться в снабжении водой тех районов, что остро нуждаются в ней (к примеру, дачных посёлков, где нет обычного водопроводного полива от централизованной системы).
Однако существуют и другие функции, что могут выполняться таким сооружением:
• Стабилизация насосных станций. Если насосная станция будет подавать воду из скважины сразу в дома потребителей, то трубопровод и оборудование будут подвергаться частой перегрузке.
Исключить поломки и аварийные остановки возможно, установив башню, что будет поддерживать давление, сохраняя функциональное состояние насосов.
• Выравнивание давления в системе. Защита от перегрузки – это не единственная польза для трубопроводной системы. Башня помогает усилить давление в самой подающей линии (на пути к потребителям). Не нужно расходовать мощность насосного оборудования для прокачки воды уже после её поднятия в резервуар.
• Наличие аварийного запаса воды. Поломка оборудование или профилактические работы не останавливают систему подачи воды, поскольку в сообщающихся сосудах перекачка осуществляется без приложения какой-либо внешней силы.
• Подготовка водных ресурсов к эксплуатации. Вода из скважины не всегда соответствует нормативным требованиям различных технических и санитарных регламентов. В связи с этим прокачка её через резервуар необходима, ведь на пути жидкости можно установить системы фильтрации, что позволяет добиться определенного уровня чистоты.
Задача водонапорной башни предопределяет ряд её технических параметров: конструкция, высота, объем резервуара, расположение и т.д.
Заключение Техническая реализация системы с водонапорной башней актуальна как для обеспечения водой многочисленных потребителей, так и для индивидуального использования. Можно осуществить подключение сельскохозяйственных комплексов или жилых построек с целью экономии электроэнергии, расходуемой на поддержание давления в системе водоснабжения. При заказе инженерных работ или самостоятельной реализации проекта водонапорной башни всегда необходимо следовать регламентным требованиям, установленным относительно таких сооружений.
Как работают водонапорные башни?
Местные новости
/ CBS Миннесота
MINNEAPOLIS (WCCO) — Когда города просят домовладельцев экономить воду, в первую очередь возникают вопросы о том, как мы получаем воду.
Том из Сент-Клауда и Нэнси из Эдины задали хороший вопрос: как работают водонапорные башни?
«У водонапорных башен есть два основных назначения, одно из которых предназначено для напора», — сказал Джон Итон, начальник коммунальных служб города Иган. «Второе, что мы делаем, в первую очередь для хранения и противопожарной защиты».
Насосы поднимают воду, создавая давление, которое люди ощущают в своих домах. Из-за высоты гравитация толкает воду вниз. Дополнительное хранилище также позволяет использовать буфер на случай высокого спроса на воду.
«Второе, что мы делаем, это в первую очередь для хранения и противопожарной защиты», — сказал Итон. «Таким образом, это дает нам буфер в течение дня, когда требования становятся действительно высокими».
(кредит: CBS) Почему нельзя хранить его на земле? Eaton говорит, что проблема заключается в пространстве, и не так много экономически эффективных мест для хранения одного миллиона галлонов воды.
Также было бы дорого перекачивать воду еще раз для создания необходимого давления.
«Часть этого состоит в том, чтобы сэкономить значительную сумму денег для населения, просто храня их высоко и позволяя природе делать всю работу», — сказал он.
Города по всему метро получают питьевую воду из разных мест, включая колодцы и поверхностные воды. Откуда бы он ни исходил, водонапорные башни работают одинаково.
Вода поступает в башню под землей из единственной большой трубы снаружи. Он движется по этой трубе прямо на дно чаши. В зависимости от спроса вода в этой башне часто переворачивается пять раз в день.
Так почему зимой не замерзает?
«Мы целенаправленно поднимаем и опускаем воду в башнях, — сказал Итон.
Итон говорит, что засуха не влияет на количество воды в башне.
«На что действительно влияет засуха, так это на нашу исходную воду, поэтому мы постоянно следим за уровнем воды, за уровнем водоносного горизонта», — сказал он.
А почему на водонапорной башне Иган нет названия города? Eaton говорит, что хотя башня снабжает водой Иган, она также снабжает ею соседние районы Инвер-Гроув-Хайтс, где на самом деле расположена башня.
- В:
- Новости Игана
- Хизер Браун
- Новости Инвер Гроув Хайтс
Впервые опубликовано 23 июля 2021 г. / 7:02
© 2021 CBS Broadcasting Inc. Все права защищены.
Спасибо, что читаете CBS NEWS.
Создайте бесплатную учетную запись или войдите в систему
, чтобы получить доступ к дополнительным функциям.
Пожалуйста, введите адрес электронной почты, чтобы продолжить
Пожалуйста, введите действительный адрес электронной почты, чтобы продолжить
Как работают водонапорные башни | Влияние сообщества
Остин
Принцип работы водонапорных башен
Для большинства открытие крана для воды, смыв унитаза или полив газона является настолько естественным повседневным занятием, что немногие задумываются о запутанной последовательности труб, моторов, очистителей и систем, которые входят в систему.
Но не все действие происходит под землей. Чтобы регулировать и поддерживать давление и уровень воды во всей системе, водонапорные башни используются для хранения очищенной воды и управления потоком. Эти массивные бетонные конструкции, каждая из которых может стоить около 2 миллионов долларов, представляют собой нечто большее, чем просто рекламное место для местных школ и города, в который они снабжают водой; они являются неотъемлемой частью системы, поддерживающей течение воды.
1. Одна труба обычно контролирует как впуск, так и выпуск из хранилища. Поскольку резервуары для хранения используются для регулирования давления и потока во всей системе водоснабжения, трубы будут направлять воду в резервуары, когда в системе меньше потребности и, следовательно, больше воды, и будут открываться для добавления воды в систему в другое время.
По закону штата водные системы должны постоянно поддерживать давление воды не менее 35 фунтов на квадратный дюйм (PSI).
2. Чтобы баки не переполнялись, в баках для воды есть переливная труба, которая будет сливать воду из бака-накопителя и оставлять ее на земле или в окружающей среде, если бак слишком полный.
3. Директор Раунд-Рок Утилиты Майкл Тейн сказал, что стены водонапорных башен необходимо красить и восстанавливать каждые 15 лет, но город сделал это вне цикла для некоторых местных школ, например, когда они выиграли чемпионаты. Тейн сказал, что частные компании обращались к городу с просьбой разместить на них логотипы компаний, но политика города состоит в том, чтобы отклонить любой из этих запросов.
4. Резервуар для хранения содержит очищенную воду на различных уровнях для регулирования системы. Хотя закон штата требует только 35 фунтов на квадратный дюйм при каждом соединении, у Раунд-Рока, например, есть цель 50 фунтов на квадратный дюйм, чтобы ошибиться в безопасности, сказал Тейн.

Подводящий трубопровод, питающий бак водой, монтируется от насосов под наружную верхнюю крышку резервуара. Отводящая линия (трубопровод диаметром от 200 мм) подключается к системе водоразбора.
Далее, по мере расхода потребителями уровень воды за счёт гидростатического давления понижается, и, по достижении определённого значения происходит срабатывание датчика, насосы включаются, и цикл повторяется.