Изготовление шинной пилорамы своими руками
Современный строительный рынок переполнен различными моделями шинных пилорам, отличающихся друг от друга как по цене, так и по качеству. Однако совсем не обязательно приобретать уже готовое деревообрабатывающее оборудование, ведь шинную пилораму можно сделать и своими руками. Это займет у вас не слишком много времени и сил, зато результат этой работы будет радовать вас многие годы, ведь шинная пилорама своими руками прослужит вам так же долго, как и модель, изготовленная известной фирмой.
Пилорама является незаменимым инструментом при обработке дерева и строительстве из этого материала.
Шинная пилорама является незаменимым деревообрабатывающим оборудованием для многих жителей нашей страны, проживающих в небольших городках или поселках. Каждому сельскому жителю прекрасно известно, какую огромную роль данное оборудование играет при выполнении работ по обработке дерева.
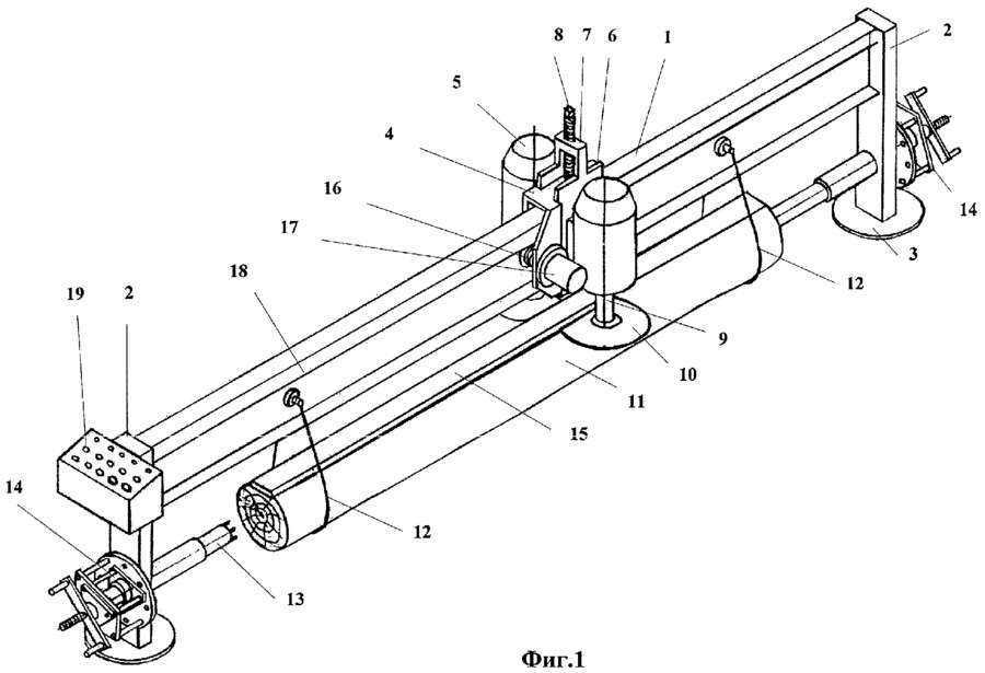
Для изготовления пилорамы понадобятся два швеллера длиной 8 м и высотой 0,14 м
Сделать шинную пилораму своими руками довольно просто, для производства станины применяются:- два стальных швеллера, имеющие длину 8 м и высоту 0,14 м.
- рельсы;
- в некоторых случаях и металлические уголки.
Очень важно проследить за тем, чтобы все ваши заготовки обладали идеальной прямой формой, иначе ваше оборудование не будет нормально функционировать.
- В стальных швеллерах по всей их длине необходимо сделать отверстия диаметром около 15 мм на расстоянии не более 1,5 м.
- Далее, в зависимости от количества этих отверстий, вам потребуется сделать специальные стяжки. В качестве материала для них вы можете использовать отрезки металлической водопроводной трубы.
- После все готовые детали необходимо надежно закрепить, используя для этого шпильки с резьбой или обычные болты.
- Теперь все составляющие конструкции будущей пилорамы своими руками, которые были подготовлены вами предварительно, необходимо собрать в одном месте, а после установить их на стойки.

Количество стоек напрямую зависит от размера и длины вашей пилорамы. Важно помнить, что крайние стойки должны быть размещены на расстоянии не менее 1 м до конца направляющих.
Читайте также:
Как правильно заточить сверло.
Как проводится заточка фуговальных ножей своими руками.
Как сделать стол для циркулярной пилы – подробнее>>>
Изготовление и установка тележки
Устройство пилорамы.
Для того чтобы придать конструкции пилорамы необходимую жесткость, нужно надежно зафиксировать раскосы. После этого установите на нее подвижную тележку, для изготовления которой используют стальную плиту. Для этого ее толщина должна составлять от 4 до 6 мм, а длина примерно 60 см. Однако параметры могут быть и другими, в зависимости от размеров самого электродвигателя. Для готовой тележки пилорамы вам потребуется подобрать зажимные пластины и несколько прокладок.
Данные элементы необходимы для обеспечения свободного передвижения всего механизма тележки в шинных пилорамах, сделанных своими руками.
Но одновременно с этим для нормальной работы оборудования требуется минимально возможный зазор. Для выполнения стяжки прокладок можно воспользоваться обычными болтами. Далее вам потребуется устранить поперечный люфт, для чего вам следует просто прикрепить упорный уголок к тележке пилорамы. Необходимо отметить, что данную тележку можно установить как на ролики, так и на подшипники.
Вернуться к оглавлению
Особенности двигателя шинной пилорамы
На вале двигателя (обычно он бывает электрическим) напрессован алюминиевый профиль, на котором есть два ремня. Во время работы двигателя усилие от мотора по двум ремням переходит на шкив, который располагается на режущем кронштейне. Все шкивы, находящиеся на внешней кромке, должны иметь диаметр 80 мм. При наличии у вас мотоблока можете взять их оттуда. Через ведомый шкив усилие двигателя передается валику, который вращается на двух подшипниках, затем на звездочку и в конце на пильную цепь.
Вернуться к оглавлению
Пильная цепь на пилораме своими руками
Пильный узел и схема работы пилорамы.
Цепь используется для передвижения металлической тележки, на которой находится пила и мотор шинной пилорамы. Очень важно проследить за тем, чтобы цепь на пилораме своими руками была натянута очень хорошо. Необходимое натяжение цепи и ремней пилорамы можно легко наладить своими руками, просто фиксируя его с помощью двух болтов и гаек. Помимо этого, дополнительно вы также можете поставить на натяжитель цепи пилорамы специальный натяжной болт, однако, как показывает практика, усилий щипцов обычно хватает для того, чтобы цепь оборудования всегда была натянута очень хорошо. Для обеспечения более легкой и длительной работы цепи ее рекомендуется регулярно смазывать машинным маслом.
Штурвал пилорамы следует монтировать непосредственно на одной из втулок звездочек, находящихся по краям направляющих. Далее вам нужно приступить к изготовлению устройства для фиксации бревна. С этой целью в трубы диаметром приблизительно 30-40 мм вставляются специальные подвижные штанги, входящие в стопор на нужном уровне винтом М8.
Далее поверх данных штанг вам следует закрепить необходимые прижимающие детали (они должны иметь длину около 1,5 см) и кулачковые зажимы.
Вернуться к оглавлению
Монтаж и применение шинной пилорамы своими руками
Чертеж простейшей пилорамы, изготовленной из бензопилы.
Теперь, когда ваша пилорама своими руками полностью готова, можно начинать ее монтаж. Для этого пилораму следует установить на направляющие рельсы, используя четыре опорных ролика. Следует отметить, что данные ролики нередко переделывают из натяжителей мотоблока. При монтаже пилорамы очень важно помнить, что шины и пильная цепь должны быть обязательно предназначены только для продольной распиловки. Не забудьте проследить за тем, чтобы цепь была очень острой, так вы сможете гораздо быстрее распилить дерево. Для нормальной работы пилорамы в течение одного дня вам потребуется сменить не меньше двух цепей.
Для того чтобы вы могли устанавливать толщину выпиливаемых вами деревянных досок, необходимо установить специальный вертикальный винт.
При его вращении рамка с пильным агрегатом будет передвигаться либо вверх, либо вниз, согласно вашим нуждам. Вначале точный размер доски вы сможете выставлять только с помощью линейки. Однако позднее, когда вы станете настоящим опытным рамщиком, вы будете с легкостью устанавливать нужную вам толщину заготовок, лишь ориентируясь по оборотам винта.
Вернуться к оглавлению
Работа на шинной пилораме своими руками
Теперь вы можете начинать работу на новой шинной пилораме, которая была сделана вашими собственными руками.
Схема ленточной пилорамы.
В самом начале работы вам необходимо будет закрепить бревно на шинной пилораме, затем открыть кран на бачке с маслом и включить электрический двигатель. После этого останется лишь опустить рамку при помощи винта – и можно спокойно начинать движение вашей новой пилорамы. Шинная пилорама, как правило, перемещается по рельсам с незначительным усилием. Данный показатель напрямую зависит от того, какой именно толщины вы намерены распилить бревно.
Шинная пилорама, сделанная своими руками, может довольно легко распилить абсолютно любую древесину, однако все же желательно использовать свежую, только что заготовленную древесину, а не ту, которая была уже высушена или запарена (на лексиконе специалистов). Легче всего пилить бревна из хвойных пород дерева, а также лиственные породы с мягкой древесиной, такие как ольха, осина, тополь и клен. Гораздо тяжелее выполнять распил твердых лиственных пород дерева, к которым относится дуб, ясень и вяз. Но сложнее всего производить работу с запаренной акацией, так как эта порода дерева отличается плотной и необычайно твердой древесиной.
Вернуться к оглавлению
Характеристики шинной пилорамы
Максимальная длина бревна, которое вы без каких-либо сложностей сможете распилить, используя шинную пилораму своими руками, составляет не более 7 м, а его максимальный диаметр не должен превышать 40 см.
При этом средняя скорость, с которой выполняется пиление древесного материала, имеет следующие характеристики: доска длиной 3 м из сосновой заготовки, имеющая диаметр 25 см, будет распилена самодельной шинной пилорамой примерно за 7 мин.
Цепная пилорама своими руками | Форум лесоводов, бензопил и работ по дереву
JavaScript отключен. Для лучшего опыта, пожалуйста, включите JavaScript в вашем браузере, прежде чем продолжить.
- Автор темы Силба
- Дата начала
Помощь Форум лесоводов:
Силба
ArboristSite Lurker
- #1
Привет, друзья.. Позвольте представить меня.. Я приехал из Хорватии.. остров Силба.. У меня есть небольшая ферма по разведению коз и овец.
Я влюблен в древесину… но вот очень хм хм $$$€€€€€—поэтому я попробую сделать сам для своего нового амбара…. Кто-нибудь знает какую-нибудь хорошую идею для изготовления что-то вроде этого
безумный мердок
АрбористГуру сайта
- #2
Силба сказал:
Привет друзья.
.Позвольте представить меня..Я родом из Хорватии..остров Силба..У меня небольшая ферма по разведению коз и овец.
Я влюблен в древесину… но вот очень хм хм $$$€€€€€—поэтому я попробую сделать сам для своего нового амбара…. Кто-нибудь знает какую-нибудь хорошую идею для изготовления что-то вроде этого
PortaMill Portable Chainsaw Sawmill от Norwood Portable Sawmills — YouTubeНажмите, чтобы развернуть…
Вы можете построить разновидность приспособления для резки/фрезерования в стиле Alaska Mill, или вы можете купить TimberJig и пойти по этому пути, или вы можете построить свою собственную мельницу с цепной пилой (CSM). one by procut Portable Sawmills Portable Sawmills, Sawmill Plans by Procut Portable Sawmills
Их планы просты, и им легко следовать. Если у вас есть какие-то навыки сварки, вы тоже можете собрать его вместе, а также их веб-сайт, если он полон полезной информации.
Добро пожаловать на Арбористсайт!
Силба
ArboristSite Lurker
- #3
безумный мердок сказал:
Вы можете построить разновидность приспособления для резки/фрезерования в стиле Alaska Mill, или вы можете купить TimberJig и пойти по этому пути, или вы можете построить свою собственную мельницу с цепной пилой (CSM). Переносные лесопильные заводы procut Переносные лесопильные заводы, Планы лесопильных заводов Переносные лесопильные заводы Procut
Их планы просты, и им легко следовать. Если у вас есть какие-то навыки сварки, вы тоже можете собрать его вместе, а также их веб-сайт, если он полон полезной информации.
Добро пожаловать на Арбористсайт!Нажмите, чтобы развернуть…
Спасибо за ответ… А пока решу планты по этому поводу… Осталось только одно… Как закрепить цепную пилу на фундаментной плите.
….
Спасибо за приветствие…
PS Я профессиональный сварщик :msp_biggrin::msp_biggrin:
Данинван
Оператор ArboristSite
- #4
Почему бы не начать с CSM? Поскольку вы сварщик, вам будет легко это сделать, и это быстрый способ начать работу. На этом форуме есть много самодельных бензопил, на которые вы можете посмотреть и скопировать идеи.
Удачи!
Дан
безумный мердок
ArboristSite Guru
- #5
Единственным CSM, который использует «основную пластину» как таковую, является Logosol. Alaskan, Pantherpro и даже Procut удерживают пилу на месте, зажимая планку рядом с наконечником и снова рядом с пилой (см. изображения на веб-сайте Granberg International или на веб-сайте Procut.
).
Исна
Регистрация и совместное использование (обучение)
- #6
Добро пожаловать в AS.
Я был там…
Я попробовал несколько решений и немного сварил… (и столкнулся с несколькими неудачами). Сейчас я использую 2 типа бензопил.
Классическая «аляскинская» цепная пила (CSM) для резки плит и мельница собственной разработки с вертикальной пилой для резки углов 90 °. Оба очень просты в сборке (вы можете получить всю информацию, просматривая старые темы на этом сайте). Начните с очень простого, протестируйте его и постепенно улучшайте (я добавил ролики…).
Для крепления бензопилы к фрезе один из моих использует хомуты на стержне, а второй насаживается на шпильки стержня (с самодельными переходниками).
Вам понадобится самая большая пила из имеющихся, так как фрезерование очень сложно для пил. Я узнал об этом, убив одну из моих любимых пил….
Силба
ArboristSite Lurker
- #7
Спасибо всем вам.
Исна ты был здесь???
ОК, я намерен сделать что-то для распила древесины… максимальный размер древесины будет составлять 10×12 см брус и рейка толщиной 1 дюйм макс. 10-12 см. Все, что я буду использовать в мае для козьего и овечьего сарая для ремонта или изготовления забора.. Я буду иногда резать его ….. с Stihl 026 … Будет ли Stihl 026 достаточно прочным для этого …. древесина будет «мягкой» вроде сосна..можжевельник..кипарис, у нас есть какой-то дуб но он не годится..только для отопления дома . Это слишком узловато.
В пятницу я начну что-нибудь делать. Все фотографии будут размещены здесь.. шаг за шагом…. Любые комментарии и предложения ДОБРО ПОЖАЛОВАТЬ
Последнее редактирование:
БобЛ
Больше не зависит от AS
- #8
безумный мердок сказал:
Единственным CSM, который использует «базовую пластину» как таковую, является Logosol. Модели Alaskan, Pantherpro и даже Procut удерживают пилу на месте, зажимая планку рядом с наконечником и снова рядом с пилой (см. рисунки на веб-сайте Granberg International или на веб-сайте Procut. 9).0004
Нажмите, чтобы развернуть…
Всего лишь мелочь, но «Аляска» — это общее название для всех переносных мельниц, которые удерживают пилу/пруток на внутреннем конце и носик прутка на внешнем конце, и которые перемещаются непосредственно по бревнам или рельсам для бревен, поддерживаемым самим бревном. Таким образом, Pantherpro, Granberg и Aussie Westford, которые держат оба конца за перекладину, являются «аляскинцами», как и Sperber и Stihl CMS.
В некоторых старых моделях Granberg и GB CSM используется опорная плита (пила соединяется с фрезерным станком с помощью болтов). Это все еще аляскцы, хотя они используют опорную плиту.
Это мельница GB с опорной плитой
Оба моих больших самодельных аляскинских станка также используют опорные плиты
Бензопилы, которые работают на роликах/рельсах/рамах (например, procut и Logosol), не поддерживаемые бревном, на самом деле не являются аляскинскими, я называю их рельсовыми CSM.
В моей вертикальной цепной пиле (мини-фрезе) используется опорная плита и одинарная рейка, но поскольку она держится только за один конец, это тоже не аляскинская пила.
Последнее редактирование:
БобЛ
Больше не зависит от AS
- #9
Силба сказал:
ОК, я намерен сделать что-то для распила древесины… максимальный размер древесины будет 10×12 см, брус и рейка толщиной 1 дюйм макс. 10-12 см. Все, что я буду использовать в мае для коз и овечьих коровников для ремонта или изготовления забора..Я буду иногда резать….. Стил 026…Достаточно ли прочен Стил 026 для этого….дерево будет «мягким» как сосна..можжевельник..кипарис,
Нажмите, чтобы развернуть…
Настоящие размеры, которые вам нужно учитывать, — это не размер древесины, а диаметр бревен, которые вы хотите распилить.
Силба
ArboristSite Lurker
- #10
БобЛ сказал:
Настоящие размеры, которые вам нужно учитывать, это не размер бревна, а диаметр бревен, которые вы хотите распилить.
Нажмите, чтобы развернуть…
диаметр бревна может чуть больше того, что мне нужно :msp_smile:..У нас тут нет большого леса….
Последнее редактирование:
Исна
Регистрация и совместное использование (обучение)
- #11
Силба сказал:
Спасибо вам всем.
Исна, ты был здесь???ОК, я намерен сделать что-то для распила древесины… максимальный размер древесины будет составлять 10×12 см брус и рейка толщиной 1 дюйм макс. 10-12 см. Все, что я буду использовать в мае для козьего и овечьего сарая для ремонта или изготовления забора.. Я буду иногда резать его ….. с Stihl 026 … Будет ли Stihl 026 достаточно прочным для этого …. древесина будет «мягкой» вроде сосна..можжевельник..кипарис, у нас есть какой-то дуб но он не годится..только для отопления дома . Это слишком узловато.
В пятницу начну что-нибудь делать. Все фотографии будут размещены здесь .. шаг за шагом …. Любые комментарии и предложения ДОБРО ПОЖАЛОВАТЬ
Нажмите, чтобы развернуть…
«Я был там» означает, что я был в похожей ситуации.
Хотел бы я иметь фотографию своей установки, но мои мельницы находятся в моем лагере, и я поеду туда только через 2 недели. Планирую тогда фрезеровать и буду фотографировать.
A 026, на мой взгляд, слишком мал. Может работать для очень маленьких сосен, но это рискованно. Было бы обидно повредить такую хорошую пилу. Может быть, вы могли бы найти более старую пилу большего размера (на самом деле вам не нужен цепной тормоз для фрезерования). Мне потребовался год, чтобы найти дешевую большую пилу. После долгих усилий я нашел тот, который почти слишком велик: 088! (помог, когда я фрезеровал дуб 70 см). Я знаю, как трудно найти большую пилу, когда у тебя нет денег. На моей второй мельнице («мини-мельнице») я использую Jred 2163 (класс 60 куб. См), у которой сломался цепной тормоз.
Теперь у меня гораздо больше пил, но это совсем другая история…
Последнее редактирование:
БобЛ
Больше не зависит от AS
- #12
Модель 026 представляет собой пилу объемом 50 куб.см. Есть по крайней мере один член AS, который успешно использует 50-кубовую пилу для фрезерования в течение многих лет, но я думаю, что он имеет тенденцию резать с ее помощью короткие куски. Риск с любой пилой заключается в том, что она может перегреться на длинных кусках.
Вы, конечно, можете поэкспериментировать с 026, просто убедитесь, что карбюратор настроен немного на богатую сторону. Это определенно побудит вас заинтересоваться приобретением пилы большего размера.
безумный мердок
ArboristSite Guru
- №13
Что касается размера пилы, я выполняю фрезерование в основном 70-кубовой пилой, либо 372XPW, либо моей PM700. Если у меня действительно большой диаметр бревна, я переоборудую его с помощью своего 075. Я делаю кромку с помощью 54-кубовой пилы и моей самодельной «мини» фрезы (McCulloch 10-10). Даже если ваш средний диаметр бревна не такой уж большой, я бы поискал пилу не менее 70 куб. см, она работает намного лучше.
Знакомство с любителями и вопросы по разделочным станкам
- ElChangoGrande
- Форум помощников домовладельцев
- Ответы
- 1
- просмотров
- 349
uniballer
Бензопилы и радиоприемники
- Bedford T
- Бензопила
2
- Ответы
- 25
- просмотров
- 1К
ZeroJunk
Газонокосилка работает плохо, а потом чинится сама?
- МаграАдам
- Ручное оборудование и инструменты
2
- Ответы
- 27
- просмотров
- 1К
Хаскибилл
BK Ashford 30 Вход
- CaptainMauw
- Дрова, отопительное и дровяное оборудование
- Ответы
- 8
- просмотров
- 629
Капитан Мау
MS261 плохо заводится при -15°
- ZipFunk
- Бензопила
2
- Ответы
- 25
- просмотров
- 1К
КАШ
Делиться:
Фейсбук Твиттер Реддит Пинтерест Тамблер WhatsApp Электронная почта Делиться Связь
Путаница с длиной направляющей: господи…
- Последнее: грязное42
Бензопила
г
Echo PB580T внезапно умирает
- Последнее: gunns
Ручное оборудование и инструменты
Мне кажется, или инструмент Stihl для съемника коленчатого вала — барахло?
- Последнее: ремонт винтажных двигателей
Бензопила
л
Описательный процесс
- Последнее: lwmibc
Форум лесного хозяйства и лесозаготовок
С
Хотите продать поршни Meteor для stihl
- Последние: smallengineredemption
Детали и инструменты для бензопил
Eliet Chippers
- Последняя версия: MS200T4Life
Коммерческий уход за деревьями и лазание
Верх
$15 Деревянная регулируемая бензопила на Аляске своими руками
JavaScript отключен.
Для лучшего опыта, пожалуйста, включите JavaScript в вашем браузере, прежде чем продолжить.
Перейти к последнему
«Сделай сам» — деревянная регулируемая цепная пила «Аляска» (рейтинг: 5)
Я не мог решить, это проект или обзор. Итак, обзор.
Я давно хотел купить бензопилу на Аляске после того, как увидел ту, что была у моего друга. Это стандартный алюминиевый завод (марка не важна). Он был красивым, регулируемым, прочным, хорошо сделанным, и я бы с удовольствием попробовал его. К сожалению, пила перестала работать до того, как у меня появилась такая возможность. Так что, как человек, который должен был иметь его, я пошел прямо на Amazon и посмотрел его. Моим первым впечатлением было: «$$$Святое дерьмо$$$». Еще один случай, когда я должен был иметь такой, но жена рассмеялась бы, и мы все знаем, как это бывает. Итак, к чертежной доске (Sketchup).
Я знал, что могу просто купить 18-дюймовую мельницу на Amazon за 180 долларов.
Так что это отправная точка. Sketchup, один 2″X10″X8′ от BORG, гайки, болты и шайбы. Я также использовал гвоздодер для ламинирования, зажимы, пару дополнительных винтов и, конечно же, клей. Для деталей бензопилы на Аляске без гвоздей , винты и клей я потратил в общей сложности $ 14,04 . Это оказалось Экономия 93% . Это работает для моего бюджета.
Для удобства регулировки я сделал его для грубой резки бревен размером чуть больше ½», ¾», 1″, 1 ½», 2″ и 3″. У него все еще остается от 4 до 6 дюймов для более крупных настроек, и их можно было бы сделать больше. Это только самые часто используемые размеры в моем магазине.
Максимальный размер пропила составляет всего 10 дюймов, что примерно на 2–3 дюйма меньше, чем у заводских версий. Чтобы сэкономить деньги, я совершу эту сделку еще примерно 11 раз. из 6-дюймовых бревен и еще много работы. Для этой мельницы проверьте настольную пилу Izzy Swans.
Я заметил, что алюминий примерно в 8 раз прочнее сосны/пихты.
Я компенсировал это гораздо большим количеством дерева и заламинировал некоторые детали, чтобы сделать врезку и шип врага. Это могло уменьшить максимальное сокращение, но опять же. ПОМНИТЕ ОБ ЭКОНОМИИ .
Качество распила, намного грубее, чем на настольной пиле. Определенно попадает в область грубой распиловки, как и ожидалось. Все мои регулируемые настройки примерно на 1/8 дюйма больше, чем габаритный размер, чтобы их можно было высушить и пропустить через настольный рубанок в будущем. Нам нужно посмотреть, будет ли этого достаточно в будущем.
Мне все еще нужно нанести немного минерального масла, чтобы защитить его и облегчить движение регулируемых рычагов. В общем, я бы порекомендовал построить один.
У меня есть дизайн Sketchup для размеров. Если вы заинтересованы в том, чтобы посмотреть больше фотографий сборки и первых сокращений, загляните на мою страницу в Facebook и посмотрите под фотографиями временной шкалы. Ссылка ниже. Если вас интересуют мои мысли и/или дизайн Sketchup, напишите мне здесь.
Вы также можете получить их, если вам нравится моя страница в Facebook и вы отправляете мне сообщение в Facebook.
Спасибо за внимание.
https://www.facebook.com/CreativeWoodworksHybla
1068498.jpg
181,5 КБ Просмотров: 142
1068506.jpg
56,8 КБ Просмотров: 140
1068514.jpg
152 КБ Просмотров: 158
Бенхубер
Моя семья оказала сильное влияние на то, что я занялся ремеслом, которое позволяет мне использовать часть моего творчества и пытаться делать вещи, которые нравятся людям. Мой дедушка Д., дядя Джадд и двоюродный брат Кайе Манало были и остаются великими мастерами. Мое время с ними никогда не будет обменяно ни на что и всегда будет цениться. Надеюсь, что смогу продолжить традицию и получать удовольствие от процесса.
Facebook:
https://www.facebook.com/CreativeWoodworksHybla/
Instagram:
https://www..jpg)


.Позвольте представить меня..Я родом из Хорватии..остров Силба..У меня небольшая ферма по разведению коз и овец.